О компании
Покупателю
Доставка
Оплата
Гарантии
Возврат и обмен
Новости и акции
Контакты
Отправить заявку
8 (351) 355-06-90
Каталог
Запчасти Dongfeng
Запчасти Shacman
Запчасти Weichai
Запчасти Cummins
Для самосвалов
Dongfeng DFL3251A Евро 2
Dongfeng DFL3251A Евро 3
Dongfeng DFL3251AXA Евро 3
Для тягачей
Dongfeng DFL4181A Евро 2
Dongfeng DFL4251A Евро 2
Для шасси АБС (миксер)
Dongfeng DFL3250A1 Евро 2
Cummins ISLe 310-30, ISLe 340-30, ISLe 375-30
Cummins L340-20, L375-20
Cummins С300-20
Прочие запчасти Cummins
Каталог
О компании
Покупателю
Доставка
Оплата
Гарантии
Возврат и обмен
Новости и акции
Контакты
Графические каталоги
Поиск
Графические каталоги
0
0
Главная
Графические каталоги
DongFeng
DFL-3251AXA Euro3
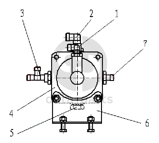
3527N50-010 Направляющий клапан
3527N50-010 Направляющий клапан DFL-3251AXA Euro3
1
2
3
4
5
6
7
100
%
1
35N-06124
Угольник
Кол-во
1
?
Узнать цену
35N-06124
Штуцер 35N-06124
Добавить в избранное
нет в продаже
2
35.6B2-06090
Угольник
Кол-во
1
?
Узнать цену
35.6B2-06090
Штуцер-угольник (m20x1,5-m22x1,5) 35.6B2-06090
Добавить в избранное
В наличии 8 шт.
20 ₽
В корзину
3
35ZB7-06067
Тройник
Кол-во
1
?
Узнать цену
35ZB7-06067
Тройник 35ZB7-06067
Добавить в избранное
нет в продаже
4
3527N50-010
Клапан направляющий в сборе
Кол-во
1
?
Оставить заявку
5
35Z41-06047
Пробка
Кол-во
1
?
Узнать цену
35Z41-06047
Пробка резьбовая 35Z41-06047
Добавить в избранное
нет в продаже
6
35ZX293-06414-A
Кронштейн крепления направляющего клапана
Кол-во
1
?
Оставить заявку
7
35B06-06012
Штуцер
Кол-во
1
?
Узнать цену
35B06-06012
Штуцер 35B06-06012
Добавить в избранное
нет в продаже
Оставьте заявку на покупку запчастей
Вы должны включить JavaScript чтобы использовать эту форму.
Ваша почта
Закачать
Только один файл.
Ограничение 32 МБ.
Допустимые типы: txt, rtf, pdf, doc, docx, odt, ppt, pptx, odp, xls, xlsx, ods.
Я согласен с
политикой обработки персональных данных
.
Групппа кнопки и политики
Отправить
Оставьте это поле пустым