О компании
Покупателю
Доставка
Оплата
Гарантии
Возврат и обмен
Новости и акции
Контакты
Отправить заявку
8 (351) 355-06-90
Каталог
Запчасти Dongfeng
Запчасти Shacman
Запчасти Weichai
Запчасти Cummins
Для самосвалов
Dongfeng DFL3251A Евро 2
Dongfeng DFL3251A Евро 3
Dongfeng DFL3251AXA Евро 3
Для тягачей
Dongfeng DFL4181A Евро 2
Dongfeng DFL4251A Евро 2
Для шасси АБС (миксер)
Dongfeng DFL3250A1 Евро 2
Cummins ISLe 310-30, ISLe 340-30, ISLe 375-30
Cummins L340-20, L375-20
Cummins С300-20
Прочие запчасти Cummins
Каталог
О компании
Покупателю
Доставка
Оплата
Гарантии
Возврат и обмен
Новости и акции
Контакты
Графические каталоги
Поиск
Графические каталоги
0
0
Главная
Графические каталоги
DongFeng
DFL-3251AXA Euro3
10E56 Установка масляного щупа
10E56 Установка масляного щупа DFL-3251AXA Euro3
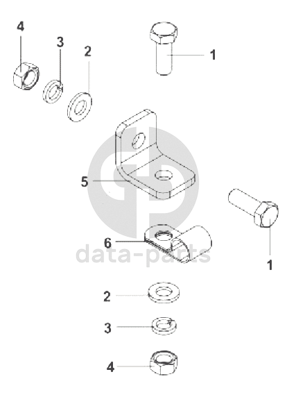
1
1
2
2
3
3
4
4
5
6
100
%
1
Q150B0825
Болт
Кол-во
2
?
Узнать цену
Q150B0825
Болт Q150B0825
Добавить в избранное
нет в продаже
2
Q40108
Плоская шайба
Кол-во
2
?
Узнать цену
Q40108
Шайба Q40108
Добавить в избранное
нет в продаже
3
Q40308
Пружинная шайба
Кол-во
2
?
Узнать цену
Q40308
Шайба пружинная Q40308
Добавить в избранное
нет в продаже
Q40308
Шайба пружинная Q40308
Добавить в избранное
нет в продаже
4
Q340B08
Гайка
Кол-во
2
?
Узнать цену
Q340B08
Гайка Q340B08
Добавить в избранное
нет в продаже
5
1109141-T0300
Кронштейн
Кол-во
1
?
Узнать цену
1109141-T0300
Кронштейн 1109141-T0300
Добавить в избранное
нет в продаже
6
Q68612
Скоба
Кол-во
1
?
Узнать цену
Q68612
Зажим Q68612
Добавить в избранное
нет в продаже
Оставьте заявку на покупку запчастей
Вы должны включить JavaScript чтобы использовать эту форму.
Ваша почта
Закачать
Только один файл.
Ограничение 32 МБ.
Допустимые типы: txt, rtf, pdf, doc, docx, odt, ppt, pptx, odp, xls, xlsx, ods.
Я согласен с
политикой обработки персональных данных
.
Групппа кнопки и политики
Отправить
Оставьте это поле пустым